氣動球閥
產品描述
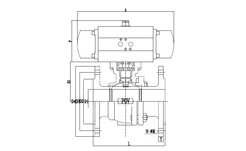
參數
氣動球閥是球閥配上氣動執行器,氣動執行器的執行速度相對較快,最快的開關速度0.05秒/次,所以通常也叫氣動快速切斷球閥。氣動球閥通常配置各種附件,比如電磁閥、氣源處理三聯件、限位開關、定位器、控製箱等,以實現就地控製和遠距離集中控製,在控製室裏就可以控製閥門的開關,不需要跑到現場或者高空和危險地帶來手動控製,在很大程度上節約了人力資源以及時間和安全性。
氣qi動dong球qiu閥fa的de工gong作zuo原yuan理li是shi靠kao旋xuan轉zhuan閥fa芯xin來lai使shi閥fa門men暢chang通tong或huo閉bi塞sai。氣qi動dong球qiu閥fa開kai關guan輕qing便bian,體ti積ji小xiao,可ke以yi做zuo成cheng很hen大da口kou徑jing,密mi封feng可ke靠kao,結jie構gou簡jian單dan,維wei修xiu方fang便bian,密mi封feng麵mian與yu球qiu麵mian常chang在zai閉bi合he狀zhuang態tai,不bu易yi被bei介jie質zhi衝chong蝕shi,在zai各ge行xing業ye得de到dao廣guang泛fan的de應ying用yong。
©2021 - 2023 廣東粵康環保股份有限公司 版權所有 備案號:粵ICP備2021130901號 技術支持:品牌一站通
©2021 - 2023 廣州粵康環保工程有限公司 版權所有


